食品安全合规管理
智慧平台
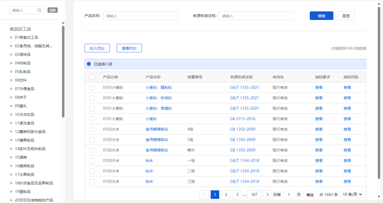
食品安全风险分级管理系统
传统风险监控模式依赖人工经验判断,存在效率低、覆盖不全、动态响应滞后等问题,难以应对复杂多变的食品安全风险。食品伙伴网依托人工智能、大数据技术,打造食品安全风险分级管理系统,可以快速查询产品执行的指标要求、识别食安指标风险等级,并通过抽检了解风险趋势,为企业提供风险预警技术支持。
系统优势:融合生产经营数据、舆情监测等多源信息,实现从“事后应对”到“事前预防”的转型,帮助企业减少因违规导致的召回损失,规范管理,降低成本。
立即试用
风险可视化
通过各种图表进行指标风险等级、抽检不合格风险以及指标毒性风险的可视化呈现,帮助快速了解产品品类及指标风险,合理进行风险管控。
指标查询比对及风险分级
通过各个指标风险等级分布图表实现产品指标要求的查询及比对和产品指标风险等级查询。
风险因子说明
将收集到的风险因子成因分析及防控措施进行展示和查询。
代码施工中,敬请期待!
我已有账号!
去登录
我还没有账号!
去申请